首 页
公司介绍
产品系列
合作伙伴
客户反馈
人力资源
联系我们
查看全部
|
查看目录
首页
>产品
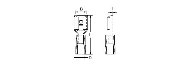
平插式全绝缘母端子
简要说明:
■材质:PVC/NL耐燃材质、铜(镀锡)
详细说明: